エコカラットプラス ディニタ
施工事例・タイル面状
ECP-2520NET/DNT1、ECP-2520NET/DNT2、ECP-2520NET/DNT3
壁:ECP-2520NET/DNT3
壁:ECP-2520NET/DNT3
カラーバリエーション
- ※バリエーションの詳細や施工事例画像などはWEBカタログ「タイル・建材総合カタログ」でご確認ください。
- ※タイルの発注や工事の際に必要な商品の留意点、施工上のご注意などの情報は、WEBカタログ「スペック資料集」でご確認ください。
- ※色合い・表情については現物サンプルにてご確認ください。
| 屋内壁 | 屋内床 (靴ばき) | 居室床 (靴ばき以外) | 浴室壁 | 浴室床 | 屋外壁 | 屋外床・ 玄関床 |
|---|---|---|---|---|---|---|
規格表
| 形状名 | 品番 | 目地共寸法 (mm) | 実寸法 (mm) | 厚さ (mm) | あたり枚数 | 入数・重量 | 標準価格 | 形状図 |
|---|---|---|---|---|---|---|---|---|
| 25×202角ネット張り | ECP-2520NET/DNT1~DNT3 | 303×202 | 201×24.25 | 7.5・9.5 | 16.9シート/㎡ | 14.0シート/ケース・12.0kg | 15,600円/㎡ [12,920円/ケース] | ![]() 目地共寸法 |
| 25×202角片面小端仕上げ(短辺)ネット張り(出隅用) | ECP-2520TNA/DNT1~DNT3 | 303×202 | (134・167.5・201)×24.25 | 7.5・9.5 | 3.4シート/m | 4.0シート/ケース・3.0kg | 12,800円/m [15,060円/ケース] | ![]() 目地共寸法 |
| 25×202角ネット張り(入隅用) | ECP-2520NB/DNT1~DNT3 | 303×202 | (134・167.5・201)×24.25 | 7.5・9.5 | 3.4シート/m | 4.0シート/ケース・3.0kg | 12,800円/m [15,060円/ケース] | ![]() 目地共寸法 |
- ※2025年4月現在の情報です。
材質・加飾
多孔質セラミックス
生産区分
標準品
即納対応:50㎡以下
品切れ時対応納期:納期確認
- ●全品番標準品です。
サンプル情報
| 見本 | カット | ミ-ECP-2520NET-DNT1~DNT3 |
|---|
見本・サンプルのご請求、お問合わせは、お近くの(株)LIXIL支社・営業所までお願いいたします。
商品の留意点
- ●素材の風合いを出すために多様な柄模様や大きな色幅があり、また、ランダムに茶色の錆の柄模様が含まれる場合があります。加えて部分的に光沢の異なる釉薬を施しており、照明や光の照射条件により見え方が異なります。
- ●この商品は目地をあける仕様になっており、裏ネットや接着剤のクシ目などが見えます。シート間の目地幅は、シート内の目地幅(1.0mm±0.8mm、商品により異なります)と違和感のないように施工するため、同程度の目地幅になります。
- ●小端には、加飾を施していませんので、表面とは色合いが異なります。現物サンプルにてご確認ください。
- ●25×202角ネット張り(入隅用)は、入隅部分に同一厚さの粒をそろえることで、入隅の凹凸を軽減する役物ですが、意匠がついているため完全にフラットにはなりません。
- ●片面小端仕上げの小端面は、タッチアップ仕上げとなっています。
- ●水道から直接水がかかる場所等、常時水がかかったり、水がたまったりする場所には使用できません。また、水に不純物が含まれていた場合、不具合につながることがあります。
- ●公共トイレの腰壁にご使用の場合、床面をモップ等で清掃すると、接触で表面が損傷したり、汚れたりする場合があります。必ず幅木(高さ100mm以上)をいれてモップ等の清掃具があたらないようにしてください。
- ●浴室・キッチンバックには使用できません。適用部位については、用途区分をご確認ください。
- ●エコカラットプラスの寸法誤差や下地の状態(不陸等)によってエコカラットプラス間に数mm程度の隙間があく場合があります。
- ●あたり枚数から算出した枚数だと不足する場合があるため、必ず割付けを確認した上で必要枚数を算出してください。
- ●「スーパーエコぬーるG」がエコカラットプラスの表面に付着した場合は、硬化する前に湿ったウエスなどで拭き取ってください。拭き残した部分が硬化してしまった場合は、家庭用中性洗剤を吹きかけたティッシュやウエスでこすり取ってください。
- ●見切り材をご使用の際は、幅木よりも突出しないようにあらかじめ出方向の寸法をご確認のうえ、ご使用ください。
- ●入隅、幅木まわりや他素材との取り合い、納め方の詳細についてはエコカラットプラス施工マニュアルをご参照ください。※詳細は、エコカラットプラス 設計・施工マニュアルをご参照ください。ビジネスユーザー向け情報サイト「LIXILビジネス情報」(https://www.biz-lixil.com/descript/tile_list.php)からもご覧いただけます。
- ●推奨施工パターンが設定されている商品については、各商品ページをご確認の上、施工してください。「LIXILビジネス情報」にも『エコカラットプラス 推奨施工パターン設定品 パターン図の一覧』を掲載しています。
- ●壁面の断熱が十分施されていない気密性の高いRC造の建物内でガスストーブを燃焼する等、連続して室内を加湿するような環境下において、エコカラットプラスのみではRC壁面での結露抑制が難しい場合があります。他の方法も併せてご検討ください。
- ●エコカラットプラスは、部屋の使用条件・気象・換気等の条件により、十分な効果が発揮できない場合があります。
- ●カビやダニが発生・繁殖しないことを保証するものではありません。通気の悪いところでは、定期的な窓開けなど十分な換気対策をお願いします。カビが発生した場合は、塩素系漂白剤でのメンテナンスをお薦めします。
- ●養生テープなどの粘着力の強いテープを用いた場合、表面を傷める原因となりますので、使用しないでください。
- ●小端部に汚れが付着した場合は、一般家庭用洗剤を歯ブラシなどに付けて速やかに除去してください。付着した汚れの種類によっては除去できない場合があります。詳しくはエコカラットプラスカタログにてご確認ください。
- ●光のあたり方によっては、場所により見え方に違いがでる場合があります。
- ●生産ロット単位、形状間、および1枚ごとなどに色合いが異なる場合があります。
- ●フッ素、EB等の撥水系表面処理された壁紙、紙系、オレフィン系の壁紙の上からは施工できませんので、壁紙を剥がしてから施工してください。
施工上のご注意
- ●接着剤は「スーパーエコぬーるG」をご使用ください。
- ●シートの上下に方向性がありますので、推奨施工パターンに従って張ってください。
- ●シート間は縦・横ともに1.0mm程度あける仕様になっていますが、シート内の目地幅とそろえるように施工するとシート間のつなぎ目が目立たなくなります。
- ●エコカラットプラス間に隙間があいていますので、接着剤は、エコカラットプラスの長手方向に平行にクシ目を立てると、クシ目が目立ちにくくなります。
- ●厚さに差がありますので、接着後ひとつひとつよく押し込んで接着剤と付着させてください。
- ●多様な柄模様や大きな色幅があるので、施工前に仮並べをして壁面の印象に偏りが出ないように施工してください。
- ●色番DNT1は白を基調としているため、汚れには十分注意して施工してください。
商品詳細説明
出隅納まり例

壁:ECP-2520NET/DNT3、ECP-2520TNA/DNT3
入隅納まり例

壁:ECP-2520NET/DNT3、ECP-2520NB/DNT3
目地部の拡大

意匠上、エコカラットプラス間には隙間があいており、裏ネットや接着剤のクシ目などが見えます。
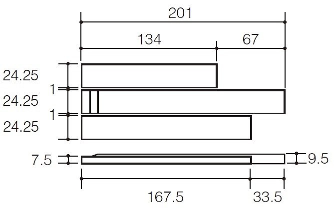
ECP-2520NET シート形状図(詳細)

ECP-2520TNA タイル形状図(詳細)

ECP-2520NB タイル形状図(詳細)

シートの方向性・推奨施工パターン

シートには方向性があります。シートの一番上に厚さの厚いピースが来る方向を上とします。25×202角ネット張りを施工する際は、左図のように隣り合うエコカラットプラスの向きがそろわないように交互に並べて施工してください。
推奨工法
- 【屋内壁】 全面接着剤張り工法
マニュアル
施工資料 エコカラット
この商品に関連するコンテンツ
大浴場・プールサイド床適性について
- ● 浴室床が◎のタイルには、別途、次のマークと商品の使用が可能か不適かを○・×で表示しています。
- ● 浴室や大浴場・プールサイド床では石鹸かす、皮脂汚れ等が付着してすべる原因となることがあります。適切な清掃を必要としますので、メンテナンスマニュアルをお読みの上、清掃してください。
大浴場床マーク
大浴場床部のように、すべると転倒につながりやすい比較的広い面積の水濡れ床部に使用する商品には、素足でのより高い耐すべり性能を必要とします。
を付記した商品は、すべり事故防止のため大浴場床部には使用しないでください。大浴場床部に使用する場合は
を付記した商品をご使用ください。素足でのより高い耐すべり性能があります。
プールサイド床マーク
プールサイド床部のように、素足で走ったりすることが危惧される広い面積の水濡れ床部に使用する商品には、素足でのさらに高い耐すべり性能を必要とします。
を付記した商品は、すべり事故防止のためプールサイド床部には使用しないでください。プールサイド床部に使用する場合は
を付記した商品をご使用ください。素足でのさらに高い耐すべり性能があります。
耐凍害性適性マークについて次のマークを表示している場合は、耐凍害性が適性となります。

耐凍害性適性マーク
耐凍害性能を有し、寒冷地でも使用できます。
〈凍害について〉
タイル素地の空隙に水が入り、この水が凍結すると約1割の体積膨張が生じ、その結果損傷が起こる現象。耐凍害性適性マークのないタイルは、一般に吸水性が大きいため、寒冷地の内装であっても、水がかりするような箇所(浴室壁面など)では、凍害が発生することがあります。ただし、寒冷地でも水がかりのない箇所(キッチンバック・トイレ壁面・給湯室壁面など)には使用可能です。
特化商品表示・取得マークについて

-
グリーン購入法適合商品マーク
グリーン購入法で定められた特定調達品目の判断の基準を満たす商品です。

-
調湿建材マーク
(一社)日本建材・住宅設備産業協会が定めた、「調湿建材判定基準」を満たす商品です。

-
ホルムアルデヒド低減建材マーク
(一財)日本建築センターが定めた、室内環境の変化に妨害されずホルムアルデヒド低減性能を発揮する建材であるという基準を満たす商品です。

-
SIAA抗菌(ISO)マーク
国際規格ISO22196が定めた評価結果に基づき、抗菌製品技術協議会ガイドラインで品質管理・情報公開された商品です。

-
SIAA抗菌マーク
抗菌製品技術協議会ガイドラインで品質管理・情報公開された商品です。

-
F☆☆☆☆マーク
建築基準法(シックハウス対策)が定めたホルムアルデヒド放散速度に関する基準の最高等級区分を満たす商品です。

-
4VOC基準適合マーク
「建材からのVOC放散速度基準化研究会」が定めた、4VOC(トルエン・キシレン・エチルベンゼン・スチレン)の放散速度基準を満たす商品です。

-
省資源マーク
自社が定めた、製造法や原材料見直し・軽量化などの原材料使用量削減基準を満たす商品です。

-
省施工マーク
自社が定めた、施工法見直しや施工材料削減などの省施工基準を満たす商品です。

-
施工廃材減マーク
自社が定めた、施工法見直しや包装材改良などの施工時の廃材削減基準を満たす商品です。

-
低VOCマーク
自社が定めた、ホルムアルデヒド等の有害なVOC(揮発性有機化学物質)の放散による濃度基準を満たす商品です。

-
防汚マーク
自社が定めた、洗浄水や洗剤使用量を節約し、きれいな状態で長く使用できるなどの防汚基準を満たす商品です。

-
ゼロエネマーク
自社が定めた、エネルギーゼロで快適性や利便性を高めているという、機能・素材のゼロエネ基準を満たす商品です。

-
Gマーク(グッドデザイン賞受賞マーク)
(公財)日本デザイン振興会により優れたデザインと評価・選定された商品に表示しています。

-
Q-CATマーク
全国タイル工業組合が制定する外装タイルと有機系接着剤の組合せ品質認定制度(Q‐CAT)に適合した商品に表示しています。タイルの個別認定には対応する接着剤の種類が記載されています。

-
下水汚泥焼却灰活用マーク
リサイクル原料として下水汚泥焼却灰を活用した商品に表示しています。

-
ナノ親水マーク
当社独自の住宅外壁防汚基準をクリアした商品であることを表しています。

-
マイクロガード対応可マーク
特別注文品にて「マイクロガード加工」が可能な商品に表示しています。価格・納期については支社・営業所までお問い合わせください。

-
はるかべ工法対応マーク
外装壁モザイクタイルではるかべ工法が可能な商品に表示しています。

-
モルタル張り対応マーク
外装壁タイル[はるかべ工法用・モルタル張り共用]でモルタル張りが可能な商品に表示しています。

-
リタイル適合マーク
専用工法「タイルラップ工法」によって外壁リフォームに使用できるタイルに表示しています。

-
マイクロガードフロアマーク
独自のタイル表面制御により、「防汚性・清掃性」と「すべり安全性」をあわせ持つ床商品に表示しています。

-
床暖房お薦め商品マーク
床暖房仕上げに適した床タイル・石材商品(ガス会社推奨)に表示しています。

-
ペット床お薦め商品マーク
ペットがすべりにくい床タイル商品に表示しています。

-
色幅ありマーク
意匠上の狙いとして素材・加飾・焼きむら・混合などによる色幅をもつ商品に表示しています。

-
還元焼成マーク
還元焼成の商品に表示しています。特殊な焼成のため、大きな色幅や、タイル表面と内側の色が異なる場合があります。

-
色混合マーク
濃・中・淡等の色合いを混合した商品に表示しています。

-
ファサード使用可マーク
エントランス周辺等の使用高さが比較的低い屋外の壁、あるいは小面積の屋外の壁に使用できるタイルには、床商品ページの用途区分に、上のファサードマークを表示しています。

-
屋外壁使用可マーク
床タイル商品で屋外壁への施工が可能なタイルには、床商品ページの用途区分に、上の屋外壁使用可マークを表示しています。






